Dovre 425GM - 425GMN onderdelen
Onderdelen Dovre hebben we beperkt op voorraad
Informeer voordat u besteld even naar de actuele voorraad
Indien niet voorradig levertijd van ongeveer 3 weken
Toont alle 18 resultaten
-

Kachelventilator GalaFire N429
€79,00 -

Handschoen zwart Dovre
€53,70 -

Dovre vlamplaat incl. luchtplaat
€117,95 -

GalaFire houtkachel thermometer magnetisch
€13,75 -

Dovre koude handgreep voor aslade
€54,45 -

Dru – Dovre glasbevestiging 4 stuks
€29,35 -

Dovre 425 GM – 425 GMN – schudrooster
€60,50 -

Dovre 425CB – 425 GM -425 GMN – kachelruit
€130,10 -

Dovre 425 GM – 425 GMN – roostersteun
€127,05 -

Dovre 425 GM – 425 GMN – lamel houder – nr 68
€60,50 -

Dovre 425 GM – 425 GMN – schudstang van het rooster
€66,55 -

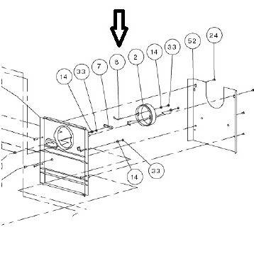
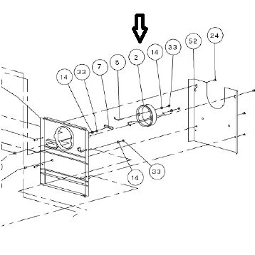
Dovre 425 GMN – aansluitkraag – Ø150 uitwendig
€63,55 -

Dovre 425 GM – 425 GMN – poot onderzijde
€60,50 -

Dovre 425 GM – 425 GMN – poot boven
€66,55 -

Dovre 425 GM – 425 GMN – bevestigings beugels aansluitkraag
€45,40 -

Dovre 425 GM – 425 GMN – gietijzeren lamel
€63,55 -

Dovre 425 GM – aansluitkraag – Ø150 uitwendig
€59,00 -

Dovre 425GM onderdelen tekening
Toont alle 18 resultaten

















